Noticias del portal sobre Apple Sólo el staff puede publicar aquí

Respuesta
 
Herramientas
  #1  
Viejo 10/10/25, 16:00:53
Array

[xs_avatar]
Noticias Noticias está en línea ahora
Noticias HTCMania
 
Fecha de registro: mar 2010
Mensajes: 70,273

noticia Análisis del iPhone Air

Análisis del iPhone Air


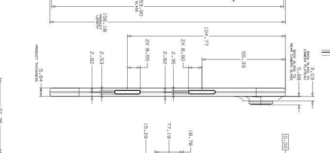
Apple ha dado un giro inesperado a su gama de smartphones con el iPhone Air, un dispositivo que destaca, sobre todo, por su increíble delgadez (5,6 mm) y su peso pluma de 165 g. Fabricado en titanio y con pantalla OLED LTPO de 6,5" a 120 Hz, este modelo no es simplemente una versión “lite” del iPhone 17, sino una apuesta diferente, centrada en el confort, la ligereza y el diseño extremo. Equipa el chip A19 Pro, 12 GB de RAM y una única cámara trasera de 48 MP que ofrece resultados sorprendentes. Como contrapartida, pierde algo de autonomía respecto a sus hermanos mayores y renuncia a las lentes ultra gran angular y teleobjetivo. Aun así, su rendimiento es excelente, viene con iOS 26 y todas las funciones de Apple Intelligence, WiFi 7, conectividad satelital, cámara frontal de 18 MP con grabación 4K... en fin, un perfil ideal para usuarios creativos o que priorizan la experiencia premium en mano. ¿Quieres conocer todos los detalles? Puedes leer el análisis completo de nuestros compañeros de Teknófilo en el enlace de la fuente.
fuente
Responder Con Cita
Gracias de parte de:


  #2  
Viejo 10/10/25, 20:16:17
Array

[xs_avatar]
apriliars3 apriliars3 no está en línea
Equipo de HTCMania
· Votos compra/venta: (15)
 
Fecha de registro: feb 2010
Localización: Madrid
Mensajes: 6,881
Modelo de smartphone: iPhone XS Plus
Tu operador: Movistar
Me llama la atención que el iPad Pro siendo el tope de gama sea más ligero y delgado mientras que el iPad Air sea una versión más lite en prestaciones, mientras que en los iPhone el tope de gama prescinde de calidad premium en diseño ligero y delgado por meter más potencia.

Creo que deberían de unificar criterios, ya que no vale a todo llamarlo Pro ni a todo Air solo por tener un apellido, sino más bien una filosofía.
Responder Con Cita
  #3  
Viejo 10/10/25, 22:17:01
Array

[xs_avatar]
Pleap Pleap no está en línea
Usuario muy activo
· Votos compra/venta: (1)
 
Fecha de registro: feb 2014
Mensajes: 1,177
Tu operador: -

 Cita: Originalmente Escrito por apriliars3 Ver Mensaje
Me llama la atención que el iPad Pro siendo el tope de gama sea más ligero y delgado mientras que el iPad Air sea una versión más lite en prestaciones, mientras que en los iPhone el tope de gama prescinde de calidad premium en diseño ligero y delgado por meter más potencia.

Creo que deberían de unificar criterios, ya que no vale a todo llamarlo Pro ni a todo Air solo por tener un apellido, sino más bien una filosofía.
No le veo mucho sentido a lo que dices,
evidentemente no es la misma superficie la de un iphone que la de un ipad.
Responder Con Cita
  #4  
Viejo 10/10/25, 22:25:37
Array

[xs_avatar]
apriliars3 apriliars3 no está en línea
Equipo de HTCMania
· Votos compra/venta: (15)
 
Fecha de registro: feb 2010
Localización: Madrid
Mensajes: 6,881
Modelo de smartphone: iPhone XS Plus
Tu operador: Movistar
Análisis del iPhone Air

 Cita: Originalmente Escrito por Pleap Ver Mensaje
No le veo mucho sentido a lo que dices,
evidentemente no es la misma superficie la de un iphone que la de un ipad.

Pues cuando veas que el tope de gama sea un Air con dos pantallas tendrá más sentido, pero vender un modelo identificado con el apellido Pro que no es mejor que el Air en los aspectos que si lo son en los iPad, no parece la misma filosofía.

Lo mismo me pasa con el mini, en algunos casos mini no es solo tamaño, al igual que Air no es solo que sea ligereza, delgadez y portabilidad cuando el iPad Pro es más delgado y ligero.

Para mi, el Pro tiene que tener los mejores materiales premium y el mejor diseño, cosa que contradice mucho con las decisiones que están tomando estratégicamente en muchos casos Apple.
Responder Con Cita
  #5  
Viejo 11/10/25, 09:42:58
Array

[xs_avatar]
Pleap Pleap no está en línea
Usuario muy activo
· Votos compra/venta: (1)
 
Fecha de registro: feb 2014
Mensajes: 1,177
Tu operador: -

 Cita: Originalmente Escrito por apriliars3 Ver Mensaje
Pues cuando veas que el tope de gama sea un Air con dos pantallas tendrá más sentido, pero vender un modelo identificado con el apellido Pro que no es mejor que el Air en los aspectos que si lo son en los iPad, no parece la misma filosofía.

Lo mismo me pasa con el mini, en algunos casos mini no es solo tamaño, al igual que Air no es solo que sea ligereza, delgadez y portabilidad cuando el iPad Pro es más delgado y ligero.

Para mi, el Pro tiene que tener los mejores materiales premium y el mejor diseño, cosa que contradice mucho con las decisiones que están tomando estratégicamente en muchos casos Apple.
En la comparación que has hecho tu en tu anterior comentario "Me llama la atención que el iPad Pro siendo el tope de gama sea más ligero y delgado mientras que el iPad Air sea una versión más lite en prestaciones, mientras que en los iPhone el tope de gama prescinde de calidad premium en diseño ligero y delgado por meter más potencia."....

1.- Los iphone Pro llevan los mismos materiales que en los ipad pro, no prescinde de "calidad premium" entonces.
2.- Los iPhone Pro se ven obligados a ser más "gruesos" que el iphone Air por lo que te dije arriba, cuestión de superficie, creo que se entiende bien que en la superficie de un ipad caben bastante más cosas que en la de un iphone, además básicamente el hardware salvando lel tamaño de a pantalla y de la batería es el mismo qu eel de un iphone.

"Para mi, el Pro tiene que tener los mejores materiales premium"

Ningún material es mejor que otro, ni "premium", tienen simplemente diferentes propiedades y dependiendo de su uso, uno será más adecuado que otro.

La palabra "material premium" me hace mucha gracia últimamente, fíjate en tu alrededor y más allá también, a ver en cuantos objetos está presente el titanio y en cuantos el aluminio, a ver quien es el premium, no veo que la ISS esté hecha de titanio por ejemplo...

A este paso se va a exigir también kevlar en los móviles?

Y no lo digo por defender el alumino del iphone pro, que mi MBA, mi ipad pro si lo están y no los quiero de de otro material... es para un usuario doméstico o civil o como le quieras llamar y no le voy a exigir la misma protección de los portátiles usados en entornos militares o industriales por ejemplo porque siendo mejores sería inútil y muchísimo más caro.

Si no hubiesen cometido la cagada del anodizado, no hubiese pasado nada, aún así se está vendiendo bien,
quieres un móvil en el bolsillo que pese 300gramos y parezca una estufa cada vez que ves un video 4K en youtube o cada vez que tenga que apretar el 5G?

Lo digo porque en este foro últimamente se leen unas cosas que o bien la gente habla por hablar o voy a tener que desempolvar los apuntes de ciencia de materiales de primero, porque aquí al parecer hay mucho "experto".

Tanto leer lo de material "premium" últimamente me está empezando a parecer tan ridículo como la chorrada del manido comentario de que un iphone te da "estatus" u otros sinónimos que se utilizan a veces....

al final van a tener razón los androides con sus comentarios de que los usuarios de Apple están un poco "apijotaos"
Responder Con Cita
  #6  
Viejo 11/10/25, 10:59:36
Array

[xs_avatar]
apriliars3 apriliars3 no está en línea
Equipo de HTCMania
· Votos compra/venta: (15)
 
Fecha de registro: feb 2010
Localización: Madrid
Mensajes: 6,881
Modelo de smartphone: iPhone XS Plus
Tu operador: Movistar
 Cita: Originalmente Escrito por Pleap Ver Mensaje
En la comparación que has hecho tu en tu anterior comentario "Me llama la atención que el iPad Pro siendo el tope de gama sea más ligero y delgado mientras que el iPad Air sea una versión más lite en prestaciones, mientras que en los iPhone el tope de gama prescinde de calidad premium en diseño ligero y delgado por meter más potencia."....

1.- Los iphone Pro llevan los mismos materiales que en los ipad pro, no prescinde de "calidad premium" entonces.
2.- Los iPhone Pro se ven obligados a ser más "gruesos" que el iphone Air por lo que te dije arriba, cuestión de superficie, creo que se entiende bien que en la superficie de un ipad caben bastante más cosas que en la de un iphone, además básicamente el hardware salvando lel tamaño de a pantalla y de la batería es el mismo qu eel de un iphone.

"Para mi, el Pro tiene que tener los mejores materiales premium"

Ningún material es mejor que otro, ni "premium", tienen simplemente diferentes propiedades y dependiendo de su uso, uno será más adecuado que otro.

La palabra "material premium" me hace mucha gracia últimamente, fíjate en tu alrededor y más allá también, a ver en cuantos objetos está presente el titanio y en cuantos el aluminio, a ver quien es el premium, no veo que la ISS esté hecha de titanio por ejemplo...

A este paso se va a exigir también kevlar en los móviles?

Y no lo digo por defender el alumino del iphone pro, que mi MBA, mi ipad pro si lo están y no los quiero de de otro material... es para un usuario doméstico o civil o como le quieras llamar y no le voy a exigir la misma protección de los portátiles usados en entornos militares o industriales por ejemplo porque siendo mejores sería inútil y muchísimo más caro.

Si no hubiesen cometido la cagada del anodizado, no hubiese pasado nada, aún así se está vendiendo bien,
quieres un móvil en el bolsillo que pese 300gramos y parezca una estufa cada vez que ves un video 4K en youtube o cada vez que tenga que apretar el 5G?

Lo digo porque en este foro últimamente se leen unas cosas que o bien la gente habla por hablar o voy a tener que desempolvar los apuntes de ciencia de materiales de primero, porque aquí al parecer hay mucho "experto".

Tanto leer lo de material "premium" últimamente me está empezando a parecer tan ridículo como la chorrada del manido comentario de que un iphone te da "estatus" u otros sinónimos que se utilizan a veces....

al final van a tener razón los androides con sus comentarios de que los usuarios de Apple están un poco "apijotaos"
Quizás se más básico que todo esto, solo hay que llevar a alquien a una Apple Store y enseñarle los nuevos iPhone.

- Por delante, básicamente son todos iguales, no hay apenas diferencias apreciables incluso en tamaños, cuanto más grande no es que sea mejor como en los televisores.

- Por detrás, alguien que no entienda se dará cuenta en las diferentes cámaras.
  1. 1 cámara, rango de entrada (gama Air).
  2. 2 cámaras, entre medias (gama sin coletilla).
  3. 3 cámaras, tope de gama (gama Pro).

- Si los coges, ya te llama la atención muchas más cosas como la tecnologia y construcción de los materiales.
  1. Buenas especificaciones con unos colores pastel y material de aluminio (gama sin coletilla).
  2. Ideal para creadores de contenido con una cámara cinematográfica, fotos en ProRes, con el mejor redimiento, una cámara de vapor y acabados en aluminio con colores más llamativos (gama Pro).
  3. Lo último más tecnólogico con el mejor diseño, delgadez, peso, y todo en un acabado más exclusivo como el titanio (gama Air).

Y por último ves los precios, y te llama más la atención lo malo que es el marketing y lo mal que está todo pensado, salvo que quieran desesperadamente que te compres el más barato.
  1. El gama de entrada tiene las mejores especificaciones y precio para todo el mundo.
  2. La gama Air ideal para un gran ejecutivo con un móvil innecesariamente delgado y ligero que nadie ha pedido ni necesita, quizás hasta que lo prueba.
  3. La gama Pro ideal para cineastas y creadores de contenido que quieren el mejor rendimiento, pero que desde el iPhone 15 Pro quizás no se necesite ni más potencia, ni más calidad cinematográfica, y cosas como la cámara de vapor ya puede que estén dejando de ser Pro para ser lo normal en estos rangos de precios.

Como ves, la filosofía de Apple cada vez se diluye más en una incoherencia que no sigue un dictamente como Jobs pensaría, donde crear un iPhone es más que diseñar un móvil, es un simbolo de usar lo último tecnologícamente de Apple que tiene su estatus de tengo lo mejor, pero no se vive de otras épocas, en la actualidad van un poco pérdidos con tanto modelo que lleva a crear unos patrones que no tienen nada que ver con la filosofía, y está muy bien para el usuario que por fin un iPhone sin coletillas ni adulteraciones en el nombre sea un simbolo de tener lo mejor como antaño, pero entonces para que existen las gama Air y Pro, un poco absurdo sobre todo el Air salvo para lo que ya sabemos, que sea la mitad de un iPhone plegable Ultra caro y tope de gama para los más entusiastas que les gusta probar lo más top de la tecnología doblando y desdoblando una pantalla por la mitad.
Responder Con Cita
  #7  
Viejo 11/10/25, 11:28:36
Array

[xs_avatar]
Pleap Pleap no está en línea
Usuario muy activo
· Votos compra/venta: (1)
 
Fecha de registro: feb 2014
Mensajes: 1,177
Tu operador: -

 Cita: Originalmente Escrito por apriliars3 Ver Mensaje
....

Como ves, la filosofía de Apple cada vez se diluye más en una incoherencia que no sigue un dictamente como Jobs pensaría, donde crear un iPhone es más que diseñar un móvil, es un simbolo de usar lo último tecnologícamente de Apple que tiene su estatus de tengo lo mejor, pero no se vive de otras épocas, en la actualidad van un poco pérdidos con tanto modelo que lleva a crear unos patrones que no tienen nada que ver con la filosofía, y está muy bien para el usuario que por fin un iPhone sin coletillas ni adulteraciones en el nombre sea un simbolo de tener lo mejor como antaño, pero entonces para que existen las gama Air y Pro, un poco absurdo sobre todo el Air salvo para lo que ya sabemos, que sea la mitad de un iPhone plegable Ultra caro y tope de gama para los más entusiastas que les gusta probar lo más top de la tecnología doblando y desdoblando una pantalla por la mitad.
Diversificar modelos es una faena (o no) para el usuario, para la empresa es coger más mercado y permitir establecer escalones de precio poniendo más caro el producto que debería ser el base.

Pero si solo hubiese un iPhone como antaño, que estaba muy bien, hoy en día sólo habría un iPhone de 1300€ y Apple no facturaría lo que factura.

Que yo sepa, la esencia de Jobs, de Apple era crear un producto que se centrase sobre todo en la experiencia de usuario y simplificase la tecnología unido al diseño.

Eso está muy bien para nosotros, pero es una empresa y va a buscar venderte lo más caro que pueda sus productos y que le salgan al menor coste posible, por eso le va como le va en bolsa, porque por desgracia eso ingresa más dinero que la experiencia de usuario.
Pasa con los iPhone, con el resto de móviles y por desgracia con los productos de alimentación, donde al igual que con los iPhone intentan obtener un producto lo más agradable a la vista y al paladar con la materia prima más barata y cargados de aditivos artificiales.

Lo del estatus... pues seguimos con las palabritas "premium".... si alguien se piensa que un estatus se lo va a dar un iPhone tiene dos problemas:
uno que lo puede resolver yendo a terapia y quitarse esa necesidad de valoración ("estatus"), que además está poniendo erróneamente en manos de otros
.... y otro, que va de palo porque no se lo va a dar, hay gente con 5 pisos y un móvil de 300€ y repartidores (con todo mi respeto a ese gremio) con un iPhone Pro, ahí tienes tu estatus y tu Premium...

En fin...
Responder Con Cita
  #8  
Viejo 12/10/25, 09:23:33
Array

[xs_avatar]
apriliars3 apriliars3 no está en línea
Equipo de HTCMania
· Votos compra/venta: (15)
 
Fecha de registro: feb 2010
Localización: Madrid
Mensajes: 6,881
Modelo de smartphone: iPhone XS Plus
Tu operador: Movistar
Digamos que es imagen de marca, y dentro de la marca, tiene más prestigio tener la mejor tecnología como el Apple Watch Ultra, pero en cambio con el Air te quedas en que es delgado, ligero con los mejores materiales y la tecnología que ha podido hacer Apple, pero solo le ha metido una cámara que sobresale con un precio que disuade mucho al usuario que no ha pedido móviles que tengan ciertos sacrificios a costa de estas limitaciones.

 Cita:
I think iPhone Air is the first phone in the world whose camera bump is thicker than the phone itself

Let that sink in
https://x.com/theappledesign/status/1977219153426809178


Creo que el superventas siempre tendría que ser las gamas medias, y el iPhone Air no está destinado a la gama media como cuando saca Nvidia una gpu x60/x70 por cuatro veces menos que el tope de gama, porque rinde cuatro o cinco veces menos, el iPhone 17 muchas veces le deja en evidencia que no más caro tiene que ser mejor para el usuario.
Responder Con Cita
  #9  
Viejo 12/10/25, 12:06:37
Array

[xs_avatar]
Pleap Pleap no está en línea
Usuario muy activo
· Votos compra/venta: (1)
 
Fecha de registro: feb 2014
Mensajes: 1,177
Tu operador: -

 Cita: Originalmente Escrito por apriliars3 Ver Mensaje
Digamos que es imagen de marca, y dentro de la marca, tiene más prestigio tener la mejor tecnología como el Apple Watch Ultra, pero en cambio con el Air te quedas en que es delgado, ligero con los mejores materiales y la tecnología que ha podido hacer Apple, pero solo le ha metido una cámara que sobresale con un precio que disuade mucho al usuario que no ha pedido móviles que tengan ciertos sacrificios a costa de estas limitaciones.


Creo que el superventas siempre tendría que ser las gamas medias, y el iPhone Air no está destinado a la gama media como cuando saca Nvidia una gpu x60/x70 por cuatro veces menos que el tope de gama, porque rinde cuatro o cinco veces menos, el iPhone 17 muchas veces le deja en evidencia que no más caro tiene que ser mejor para el usuario.
Y seguimos con “Estatus”, “premium”, “prestigio”…. Uuuyyyyssss 😖
Pero de verdad, a parte de los que tienen una buena empanada mental (o 15 años y están con lo de las marquitas) alguien se piensa que eso se lo va a dar un objeto? (dejando a un lado la parte psicológica de necesitar sentirse así)

Aquí la gama media (aunque no lo parezca por el precio) es el iphone 17, y este año lo peta (reconocido desde dentro), por lo que se ve en las redes y a la vista en las listas de espera en la Apple Store.

El Air en tiendas como ktuin ya lo han rebajado un 5%,
apostaron a caballo perdedor y ahora a las dos semanas ya han entrado en pánico para darle salida al stock que tienen, cuando para mí el efecto va a ser el contrario, hacerte desconfiar de ese modelo.

Por el trato que he tenido que tener con ellos (que por REvender productos de Apple se deben sentir muy por encima del bien y del mal) y por cosas tan miserables cómo cobrarte a parte los 3€ de "Compensación por copia privada - Canon Digital" en cualquier producto que te compres, que ya hace falta tener bemoles... que se jo-dan.
Responder Con Cita
  #10  
Viejo 13/10/25, 08:37:28
Array

[xs_avatar]
apriliars3 apriliars3 no está en línea
Equipo de HTCMania
· Votos compra/venta: (15)
 
Fecha de registro: feb 2010
Localización: Madrid
Mensajes: 6,881
Modelo de smartphone: iPhone XS Plus
Tu operador: Movistar
 Cita: Originalmente Escrito por Pleap Ver Mensaje
Y seguimos con “Estatus”, “premium”, “prestigio”…. Uuuyyyyssss 😖
Pero de verdad, a parte de los que tienen una buena empanada mental (o 15 años y están con lo de las marquitas) alguien se piensa que eso se lo va a dar un objeto? (dejando a un lado la parte psicológica de necesitar sentirse así)

Aquí la gama media (aunque no lo parezca por el precio) es el iphone 17, y este año lo peta (reconocido desde dentro), por lo que se ve en las redes y a la vista en las listas de espera en la Apple Store.

El Air en tiendas como ktuin ya lo han rebajado un 5%,
apostaron a caballo perdedor y ahora a las dos semanas ya han entrado en pánico para darle salida al stock que tienen, cuando para mí el efecto va a ser el contrario, hacerte desconfiar de ese modelo.

Por el trato que he tenido que tener con ellos (que por REvender productos de Apple se deben sentir muy por encima del bien y del mal) y por cosas tan miserables cómo cobrarte a parte los 3€ de "Compensación por copia privada - Canon Digital" en cualquier producto que te compres, que ya hace falta tener bemoles... que se jo-dan.
Si fuera tan solo comprar un móvil, te serviría cualquiera, cuando eso no es lo que pagas por la marca.

Cualquiera podría hacer un móvil más fino con una sola cámara, reduciendo batería, y metiendo todo el hardware en un molde de titanio, pero solo Apple puede darle un sentido a ese iPhone que en ciertos sentidos como he explicado sufre del sindrome de los primos mayores cuando los comparas con ellos, no solo con cualquier otro móvil del mercado que no se pueda parecer.

Estos ingenieros y diseñadores de Apple se pasan horas y horas pensando y diseñando esto, y no le dan una lógica, muchas veces parece que sean departamentos diferentes los que se encargan de hacer el portafolio de Apple.
Responder Con Cita
Respuesta

Estás aquí
Regresar   Portal | Indice > Foros iPhone / Zona Apple > Noticias y comentarios sobre Apple > Noticias del portal sobre Apple



Hora actual: 09:18:33 (GMT +1)



User Alert System provided by Advanced User Tagging (Lite) - vBulletin Mods & Addons Copyright © 2025 DragonByte Technologies Ltd.

Contactar por correo / Contact by mail / 邮件联系 /